Технические характеристики насоса ЦМК 60-20
Технические характеристики - одноступенчатый канализационный насос ЦМК 60-20.
Конструктивно насос - центробежный, вертикальный, моноблочный, одноступенчатый электронасос.
Центробежный насос ЦМК 60-20 относится к передвижному насосному оборудованию и используется для перекачивания и промышленных и бытовых сточных вод, фекальных жидкостей, в т.ч. при аварийных ситуациях.
Насос не применяется в пожаро- и взрывоопасных условиях и помещениях.
Для привода насосных агрегатов ЦМК 60-20 используют встроенные герметизированные электродвигатели.
Тип электродвигателя - трехфазный с короткозамкнутым ротором асинхронный электродвигатель мощностью 7,0 квт, число оборотов 2950 в мин.
В таблице №1 представлены технические характеристики канализационного насоса ЦМК 60-20.
На рисунке 1 - напорные характеристики.
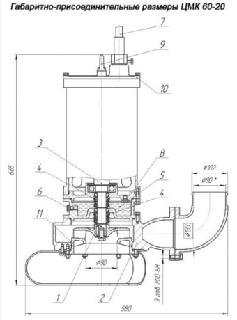
На рисунке 2 - габаритный чертеж электронасоса.
| Показатели | Параметры |
| Подача номинальная, м³/час - диапазон подачи |
60 25-100 |
| Напор номинальный, м - диапазон напора |
20 12-6 |
| Электродвигатель, мощность, квт | 7 |
| Электродвигатель, частота вращения вала, об/мин | 2950 |
| Максимальная глубина погружения, не более, м | 5 |
| Подпор, не менее, м | 0,7 |
| Условный проход шланга , мм | 102 |
| Высота насоса, мм | - |
| Максимальный поперечный размер насоса, мм | - |
| Потребляемый ток, А | 16 |
| Масса электронасоса, кг | 150 |
| КПД электронасоса, % | - |
| Нож измельчитель | по заказу |
| Габаритные размеры, мм | - |
Рис.1 Рабочие характеристики


По специальному заказу на ЦМК 60-20 устанавливаются ножи для измельчения длинноволокнистых включений.
Маргарита 